本站欢迎免费投稿,同时为站长开通专属AFF联盟合作计划 djvps820@outlook.com。

丽萨主机新加坡家宽VPS原生ISP住宅IP、高速带宽
原生ISP住宅IP,IP信誉高
丽萨主机的新加坡家宽VPS采用原生ISP住宅IP,具有高信誉度,适合跨境电商、外贸站和社交平台运营等业务。
高性能硬件配置
VPS配备E5-2680v4处理器,双核2.40GHz,内存1999MB,40GB NVMe SSD硬盘,读写速度高达484MB/s,支持KVM虚拟化,性能稳定。
大带宽支持
提供500M-1Gbps带宽,满足高流量需求,适合视频直播、电商平台等应用。
优异的国际网络性能
在亚太地区表现优异,特别适合东南亚市场。
流媒体解锁能力强
可解锁Netflix、Disney+、TikTok等流媒体平台,适合需要解锁流媒体服务的用户。
丽萨主机最新推出的新加坡家宽 ISP 住宅原生 IP VPS,在用户体验方面有几个核心亮点,非常适合对网络质量和 IP 纯净性有高要求的用户。
这款 VPS 默认分配的是新加坡原生 ISP 家宽 IP,而不是数据中心常见的商业 IP,具有更高的信任度和更低的封禁风险。
它走的是新加坡 BGP 国际网络,不做大陆专线优化,保证的是公网透明、稳定的国际通信质量,更适合做流媒体、跨境电商、社交媒体营销等业务使用。
在带宽与存储方面,丽萨提供高达 1 Gbps 的带宽选项,搭配 NVMe 高性能固态硬盘,读写速度快且稳定,能够支撑大流量访问和 I/O 密集型任务。
再说用户体验的细节:
开通速度快:购买后即可自动开通,无需人工审核。
退款保障:提供 48 小时不满意无条件退款政策,降低用户的尝试成本。
IP 纯净:商家强调所用 IP 在 Scamalytics 等检测中的欺诈评分为 0,适合对 IP 风险控制要求高的业务。
流媒体解锁能力强:可解锁 Netflix、TikTok、ChatGPT、亚马逊、Shopee 等服务,适合做直播、跨境运营、视频加速等用途。
丽萨主机产品配置套餐
| 版本 | 月价格 | CPU | 内存 | 硬盘 (NVMe) | 带宽 | 月流量 |
| 特价年付版 | 466元/年 | 1核 | 1G | 10G | 300Mbps | 2000GB |
| 基础版 | 68 元 | 1核 | 1G | 10G | 300Mbps | 6000GB |
| 进阶版 | 88 元 | 2核 | 2G | 20G | 500Mbps | 10000GB |
| 豪华版 | 188 元 | 4核 | 4G | 40G | 1000Mbps | 20000GB |
| 不限流量Lite | 398 元 | 2核 | 2G | 40G | 200Mbps | 不限 |
| 不限流量Pro | 598 元 | 4核 | 4G | 80G | 500Mbps | 不限 |
核心配置
CPU:分配式CPU,确保高性能处理能力
内存:2GB起步,支持更高配置
硬盘:NVMe SSD,提供快速的数据读写速度
带宽:1Gbps,适合高流量需求
IP类型:新加坡原生ISP家宽IP
网络:BGP国际线路,确保稳定的国际通信质量
球各地网络稳定性情况

网络质量与三网表现
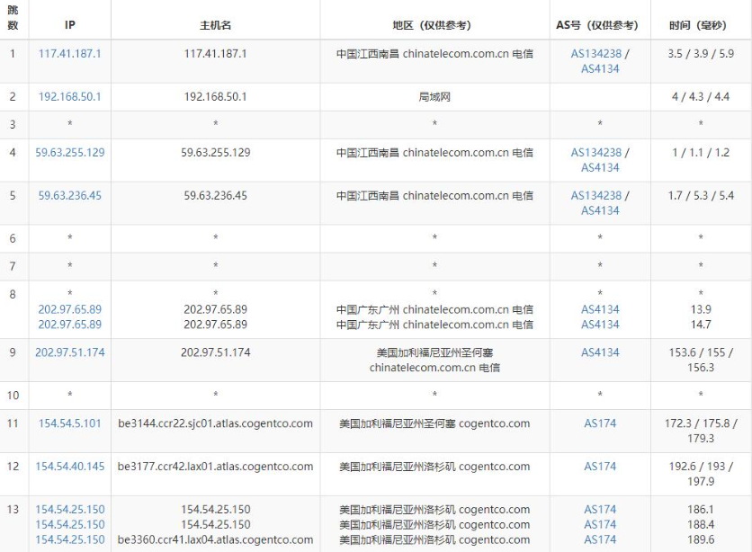
电信

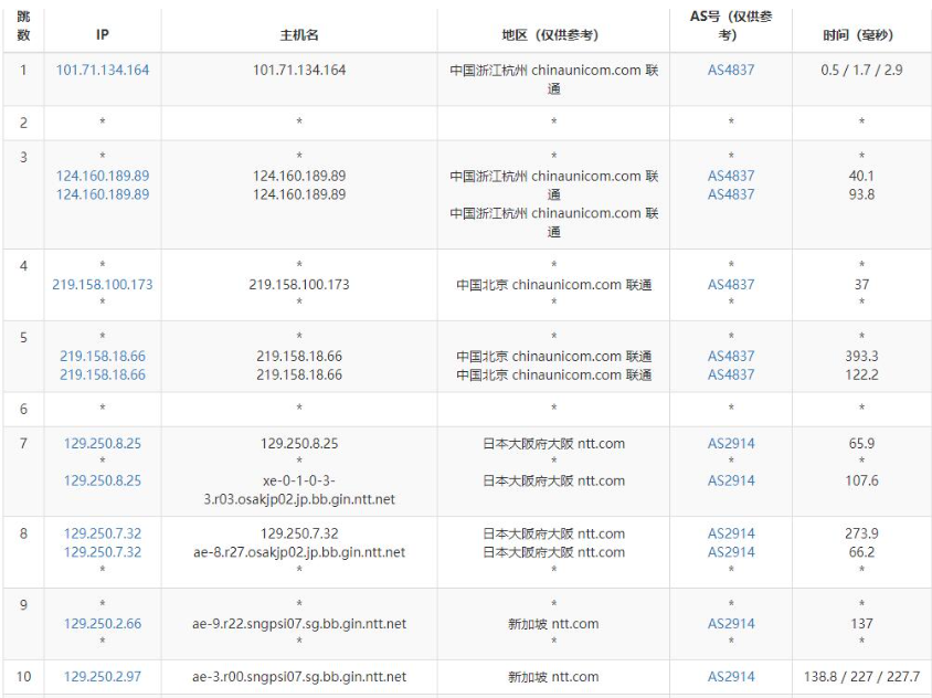
联通

移动

丽莎主机东南亚流媒体解锁情况

性能测试与用户反馈
根据用户反馈和第三方测试,丽萨主机新加坡家宽VPS在以下方面表现突出:
网络稳定性:长时间运行无明显波动,适合需要持续在线的应用
IP信誉:原生ISP家宽IP,避免了数据中心IP的封禁风险
带宽利用率:高带宽配置满足大流量需求,适合视频直播、电商平台等应用


评价
目前还没有评价